bizhub C652 / C552のよくあるご質問
![]()
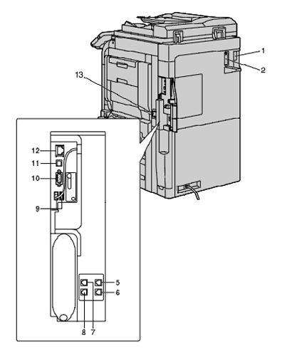
LANケーブルはどこに差し込めばよいのでしょうか?
![]()
本体側面の「ネットワーク用ポート」に差し込んでください。詳しくは、図をご参照ください。
図の12番がネットワーク用ポートです。
更新日時 2010年8月31日
FAQ番号:cop01822
ソリューション&サービス
経営課題から探す
カテゴリ・キーワードから探す
製品情報
おすすめ情報
bizhub C451 i / C361 i / C301 i / C251 i
シンプルな操作性と最先端のITサービスで、多様なワークスタイルをつなぐ「bizhub i シリーズ」
AccurioPress C14010 / C14010S / C12010 / C12010S
印刷工程のワークフローを最適化。白色トナー対応による印刷物の表現幅も拡大
導入事例
新着導入事例
日本リサイクルセンター株式会社様充電式電池の回収・リサイクルのパイオニアである日本リサイクルセンター様、温度検知が可能なMOBOTIXサーマルカメラを導入。事前に危険性を検知できるようになり、安心を手に入れました。
株式会社オンデオマ様「障がいの有無に関係なく、個々の強みを尊重する」経営方針のもと、多様な個性を持つ社員一人ひとりが能力を発揮できる職場環境を構築される中で、当社のオンデマンド印刷機が支えとなり、安定した品質と誰もが安心して働ける生産体制の実現に貢献。
サポート
よくあるご質問、OS対応状況、お問い合わせ窓口を掲載しています。
かんたんサポートナビでは製品カテゴリからサポート情報を素早く、簡単にお探しいただけます。
ダウンロード
各製品のドライバーやアップデートプログラム、関連ユーティリティー、ソフトウェアなどのダウンロードができます。
![]()
![]()
本体側面の「ネットワーク用ポート」に差し込んでください。詳しくは、図をご参照ください。
図の12番がネットワーク用ポートです。
更新日時 2010年8月31日
FAQ番号:cop01822