bizhub C35のよくあるご質問
![]()
イメージングユニットの交換方法を教えてください
![]()
操作パネルのメッセージウィンドウで、交換するイメージングユニットの色を確認してから、本機の前ドアを開けて正面のレバーを左へ引いてください。
トナーカートリッジの取っ手をつかみ引き抜きます。廃トナーボトルを押し上げ、ロックを解除してから廃トナーボトルの左右の取っ手をつまみ、廃トナーボトルをゆっくりと引き抜いてください。 

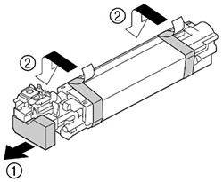
交換するイメージングユニットのロックレバー(「PUSH」と表示されています)を押しながら、イメージングユニットを引き抜きます。
新しいイメージングユニットを両手で持ち、図のように数回振ります。

イメージングユニットの保護カバーを取り外します。イメージングユニットの保護テープをすべて取り外します。
イメージングユニットの紙を取り外します。イメージングユニットの保護カバーを取り外します。
新しくセットするイメージングユニットの色と本機挿入口の色が合っていることを確認して、イメージングユニットを押し込みます。
続いて廃トナーボトルをロックされるまで押し込みます。
トナーカートリッジの色と本機挿入口の色が合っていることを確認して、トナーカートリッジを押し込んでください。 
レバーを右に引いてロックし、前ドアを閉じます。

更新日時 2013年8月27日
FAQ番号:cop01257














