bizhub 3510f / 3510 / 3010f / 3010 / 2510f / 2510 / 1810f / 1810のよくあるご質問
![]()
トナーボトルを交換したいのですが
![]()
本機の前カバーを開きます。
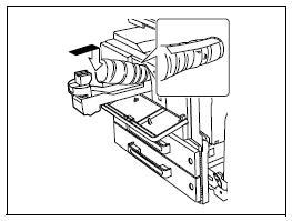
トナーホッパーをいちばん手前まで引き出し、トナーホルダーを起こしてください。
空のトナーボトルをゆっくり引き出します。
新しいトナーボトルを机やテーブルなどの固い面に落として中身をほぐし、上下に5~10回程度よく振ってください。
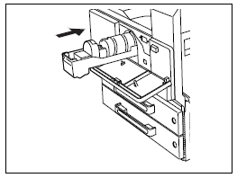
トナーボトルのシール部を上に向け、トナーホッパーにセットします。
トナーホルダーをロックするまで倒し、トナーボトルのシール部を持って手前にゆっくりと引き抜いてください。
トナーホルダーを倒し、トナーホッパーをカチッと音がするまで戻します。
前カバーを閉じます。
前カバーを閉めると、自動的にトナー補給が開始されます。
トナー補給中は、電源を切ったり他のドアを開けたりしないでください。
トナーボトルは、必ず本機専用のトナーボトルを使用してください。それ以外のトナーボトルを使用すると故障の原因となります。
使用済みトナーボトルはサービス担当者が後日回収しますので、捨てずに個装箱に入れて保管しておいてください。
<!注意>
- トナーで本体内や衣服または手などを汚さないように注意して取り扱ってください。
- トナーで手を汚してしまった場合は、水や中性洗剤などを使って洗い流してください。
- 目に入ってしまった場合は、すぐ水で洗い流し、医師にご相談ください。
更新日時 2013年8月27日
FAQ番号:cop00370














